当前位置:首页 > 产品中心 > 泵类 > 齿轮油泵

产品导航

Product navigation

免费获取

更详细的特种纸系统供应方案

点击获取
PRODUCT

LQ3A型转子泵

  • 厂家直销
  • 品质保障
  • 按需定制
咨询报价
订购咨询热线:

0523-87894333

产品详情

一、概述

LQ3A型外润滑转子泵是一种新型回转容积泵,与普通泵相比,它具有更广泛的用途和更长的使用寿命。适宜输送无润滑性、有腐蚀性或不含有固体颗粒、纤维等物质,一般粘度和高粘度的流体。介质的温度一般在120℃以下(高于120℃时需特殊订货)。因此,它广泛应用于机械、石油、化工、食品、医药、冶金、印染、陶瓷、造纸、酿造等行业。


二、规格及技术参数

注:表中适配用电机功率是液体的粘度为5000cst时的配置,液体粘度增大时应考虑增大电机功率及降低泵转速,请向制造厂咨询。

型号每100r排量(L)口径(mm)额定压力MPa吸入建议调速范围(rmp)功率(KW)
LQ3A-66200.6-1.0550-4000.75~1.5
LQ3A-88250.6-1.0550-4000.75~1.5
LQ3A-1212250.6-1.0550-4001.1~1.5
LQ3A-2020320.6-1.0550-4001.5~2.2
LQ3A-3030400.6-1.0550-4001.5~2.2
LQ3A-3636500.6-1.0550-4001.5~3.0
LQ3A-5252500.6-1.0550-4002.2~4.0
LQ3A-6060650.6-1.0550-4003.0~5.5
LQ3A-8080650.6-1.0550-4005.5~7.5
LQ3A-100100800.6-1.0550-4007.5~11
LQ3A-120120800.6-1.0550-4007.5~11
LQ3A-1501501000.6-1.0550-40011~15
LQ3A-2002001000.6-1.0550-40015~18.5
LQ3A-2502501250.6/1.0550-40018.5~22

三、结构特点

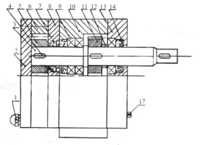
该泵的主要结构特点是输送介质工作轮和动力传输齿轮是分开的,输送介质的工作轮不承载传输动力,而动力传输齿轮不与输送的介质接触。轴承、动力传输齿轮都被置于一个润滑条件良好的齿轮箱中。根据各自的工作条件进行精心设计和制造,有效地保证了泵的工作可靠性。因此,该泵具有较长的使用寿命和较强的适应性(见图一)。

image

1.螺母  2.外侧板  3.主动轴 4.键 5.输送转子 6.泵体  7.密封  8.内测版 9.轴承

10.齿轮箱   11.驱动齿轮  12.挡圈  13.齿轮箱盖  14.密封圈

图一

四、泵的安装

1、安装前应检查泵在运输中是否受到损坏,电机是否受潮,泵的进出口防尘罩是否脱落,有无异物掉入泵腔。

2、泵的底座应用地脚螺栓紧固于水泥基础之上或其他稳定的基础上。

3、在泵与电动机直接连接时,应注意泵轴与电动机输出的同轴度,不同心时应进行校正。

4、泵的进出口管径尺寸不得小于泵的进出口直径,并尽量缩短进料管。

5、安装前应检查相应的管路有无异物,各接头处不得漏气渗液,应避免用泵来承担管路的重量,以免影响泵的正常运行。


五、使用和维护

1、开机前应检查泵的转向与规定的方向是否一致。

2、开机前最好在泵的输送腔中注入润滑性液体,这样可以防止转子与侧板之间以及密封摩擦面之间的干摩擦。

3、开机前检查泵的转动是否灵活,有无卡阻现象。

4、开启进出口阀门。

5、每24小时检查一次齿轮箱中的润滑油是否在规定油位,不得过多或不足。

6、在工作中出现异常噪声、发热、泄露等不正常现象,应立即停机,停机时应先切断电源,再关闭阀门。

六、常见故障及排除方法

现象产生原因排除方法
不排油或1、吸入高度太高超过额定值1、减少泵与液面的高度差
排油少2、旋转方向不对2、更正旋转方向

3、吸入管道漏气3、检查管路、接头,消除漏气

4、吸入管道堵塞或阀门关闭4、清除堵塞物,开启阀门

5、液体温度低而黏度增大5、预热液体,如不可能则降低排出压力减少排油量


6、拆卸检查,更换有关零件

6、工作轮与泵体磨损严重
密封漏油1、轴封处未处理好1、重新调整
2、密封圈磨损,间隙增大2、更换密封圈
噪音或1、吸入网或滤网堵塞1、清除滤网上的污物
振动大2、吸管伸入油池较浅2、吸入管应伸入油池0.5米左右

3、管道内进入空气3、检查管道消除漏气

4、排出管道阻力太大4、检查管道和阀门,清除堵塞

5、紧固件松动5、检查旋紧

6、轴承损坏或侧板磨损严重6、更换新轴承或侧板

7、回转部件发生干涉7、拆下检查并排除故障

产品优势

  • 精工生产,实力雄厚

    Four strength advantages - 01
  • 品质过硬,价格优惠

    Four strength advantages - 02
  • 产品种类多,规格全

    Four strength advantages - 03
  • 精英团队,实力过硬

    Four strength advantages - 04

十多年致力于生产各类液压件

由经验丰富的技术人员组成,技术人员具有从事液压行业十多年的经验
  • 品质保障

  • 物流保障

  • 合作无忧

产品推荐

上一篇:BB-BY型齿轮泵
下一篇:液下齿轮泵